J11W不锈钢丝扣截止阀开启时,阀瓣的开启高度,为公称直径的25%~30%时,流量已达到最大,表示阀门已达全开位置。所以截止阀的全开位置,应由阀瓣的行程来决定。J11W不锈钢丝扣截止阀结构简单,制造和维修比较方便。工作行程小,启闭时间短。密封性好,密封面间磨擦力小,寿命较长。 但缺点是流体阻力大,开启和关闭时所需力较大,且不适用于带颗粒、粘度较大、易结焦的介质。
J11W不锈钢丝扣截止阀技术参数
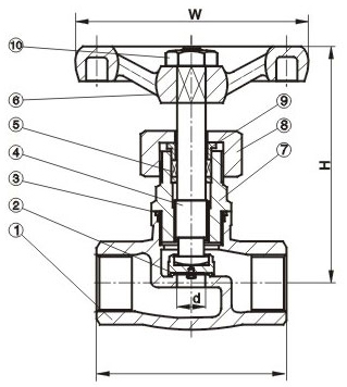
J11W不锈钢丝扣截止阀主要零件材料
J11W不锈钢丝扣截止阀外形尺寸
沪公网安备 31011402008294号